Safety Electric Boilers: Clean, Reliable, and High-Performance Heating
Eco-friendly electric boilers engineered with advanced heating elements and corrosion-resistant materials for zero-emission operations.
Due to electric heaters and electric boilers,
numerous fires occur every year.
Conventional heating systems face inherent safety and reliability challenges under abnormal or extreme operating conditions, particularly in industrial environments where overheating and system failure can lead to serious risks.
Liquid level fluctuation
Sensor malfunction
Heater
exposure to air
Controller
failure
Heater overheating
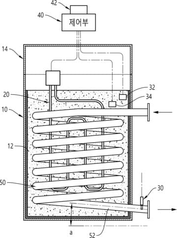
Tank
damage
Numerous potential causes of heater-related accidents
The common factor behind these incidents is that
the system is designed on the premise of a structure in which the heater can become hazardous.
This is how ATX developed the Safety Boiler.
Solution
From direct to indirect heating
The ATX fire-prevention electric boiler does not start from the question of
“How should the heater be controlled?”
but rather from
“What kind of structure ensures that the heater can never become hazardous?”
Instead of conventional immersion-type heaters,
ATX adopts an integrated heater–heat exchanger boiler,
providing indirect heating through a sealed heat exchange structure.
Indirect Heating via Heat Exchanger
No heater installed inside the tank — clear internal space secured No obstruction to water flow — no complicated cleaning required
Strength
1. Structural elimination of fire risk
- Through an indirect heating structure, ATX eliminates the conditions that cause heater overheating.
- The process fluid never contacts the heater directly, and is heated only through the heat exchange section.
- If liquid circulation stops, heating is automatically limited, preventing abnormal temperature rise.
As a result
- Heater overheating → Structurally impossible
- Sensor malfunction → Does not escalate into a hazard
- Single control failure → Does not lead to an accident
2. Four-layer safety protection
The ATX Safety Boiler is equipped with a four-layer safety system consisting of:
- Temperature sensor
- Dual bimetal protection (2 units)
- Thermal fuse
This multi-layered safety design ensures that overheating and fire risks are prevented by up to 99.99%.
3. Heating system optimized for highly corrosive processes
The process fluid comes into contact only with
Ti / Ta / Zr / Nb–based materials.
This design minimizes the risks of:
- Corrosion
- Metal leaching
- Unwanted chemical reactions
Suitable for the
usage environment
Hydrochloric Acid
Sulfuric Acid
Chlorine
Sodium Chloride
- Inspection
- Replacement
- Risk
REDUCES!
By using highly corrosion-
resistant materials
Titanium
Tantalum
Zirconium
Niobium
- Durability
- Efficiency
- Heat transfer rate
IMPROVE!
4. Easy control & simple installation
An intuitive design allows easy operation by any user.
Installation requires only
power and piping connections.
No additional construction is needed,
and the unit fits easily into limited spaces.
Installation is comparable to a standard electric water heater.
Applications
Aquaculture & Water Systems
- Seawater aquaculture temperature control
- Heating of land-based and seawater tanks
- Heating of circulating water containing salinity and organic matter
Laboratory & R&D
- Heating of small-volume chemical solutions in research facilities
- Temperature control of experimental tanks and reaction fluids
- Stable heating in high-purity, high-corrosion environments
Surface Treatment & Plating
- Heating of plating baths
- Temperature control of acidic and alkaline process solutions
- Heating of circulation lines handling corrosive chemicals
Chemical & Process Industry
- Heating of process fluids containing acids, chlorine, or high salinity
- Processes sensitive to metal reactions
- Process lines requiring long-term, stable temperature maintenance
If your process requires Ti / Ta / Zr / Nb–grade materials, your heating system should meet the same standard.
Installation site photos
Specifications
| Power Supply | PositionVoltage | Capacity |
|---|---|---|
|
- Single-phase
- Three-phase |
- 220V
- 380V |
- 3.3 kW
- 6.6 kW - 9.9 kW - up to 30 kW |
Corrosion-Resistant Materials (Wetted Parts)
Titanium (Ti)
Zirconium (Zr)
Tantalum (Ta)
Niobium (Nb)
Material selection is determined based on the corrosive characteristics of the heated liquid and operating conditions.
Frequently Asked Questions
The operating principle is the same as that of an electric iron. When the temperature reaches the preset limit, the boiler automatically shuts off, maintaining a stable temperature.
When water is insufficient, temperature can rise rapidly. Once the set temperature is exceeded, power is immediately cut off by the first bimetal protection. For additional safety, a secondary bimetal cutoff is applied as a backup, ensuring redundant protection.
Conventional systems require heaters to be installed directly in tanks,
or separate purchases and management of heaters and heat exchangers.
The ATX electric boiler features an integrated design,
allowing heating simply by connecting the piping—no complex installation required.
Yes. Simply connect the power cable to operate. You can think of it as working on the same principle as a wireless electric kettle.
Exceptional Corrosion Resistance
Many systems are designed to manage accidents.
Few are designed to eliminate them by structure.
The ATX Fire-Prevention Electric Boiler redefines the safety standard for electric heating systems.
It delivers safety not managed by operation, but completed by design.